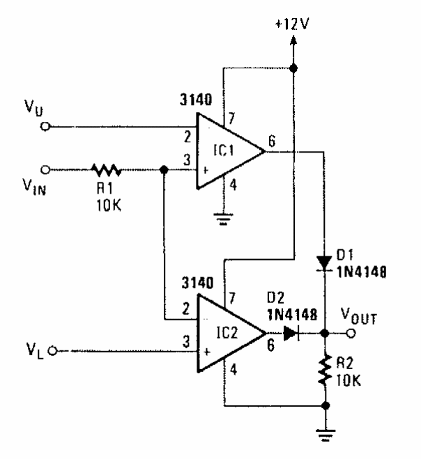
Encontrado numa Radio Electronics este circuito tem sua ação determinada pelo resistor R1. O circuito não necessita de fonte simétrica. Pode ser aplicado a outros operacionais.

Encontrado numa Radio Electronics este circuito tem sua ação determinada pelo resistor R1. O circuito não necessita de fonte simétrica. Pode ser aplicado a outros operacionais.
