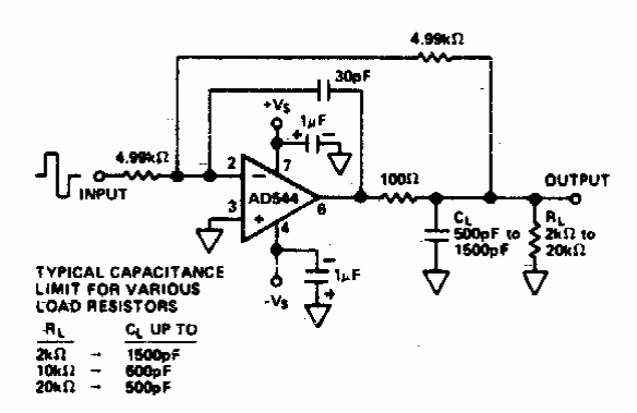
Este circuito se destina a excitação de cargas capacitivas. Encontramos numa documentação antiga. Cargas até 500 pF podem ser excitadas. O circuito integrado é da época.

Este circuito se destina a excitação de cargas capacitivas. Encontramos numa documentação antiga. Cargas até 500 pF podem ser excitadas. O circuito integrado é da época.
