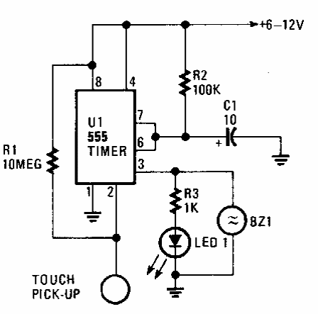
Esta chave de toque temporizada com o 555 foi encontrada numa Hands-On Electronics dos anos 90. Ela aciona um buzzer, mas em seu lugar pode ser usado um relé. Nunca a alimente por fonte sem transformador.

Esta chave de toque temporizada com o 555 foi encontrada numa Hands-On Electronics dos anos 90. Ela aciona um buzzer, mas em seu lugar pode ser usado um relé. Nunca a alimente por fonte sem transformador.
