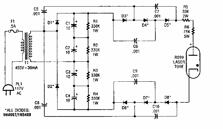
Esta fonte de alta tensão para LASER a gás foi encontrada numa documentação dos anos 90. O circuito é de baixa corrente.

 


| Clique na imagem para ampliar |

 

 

NO YOUTUBE


NOSSO PODCAST