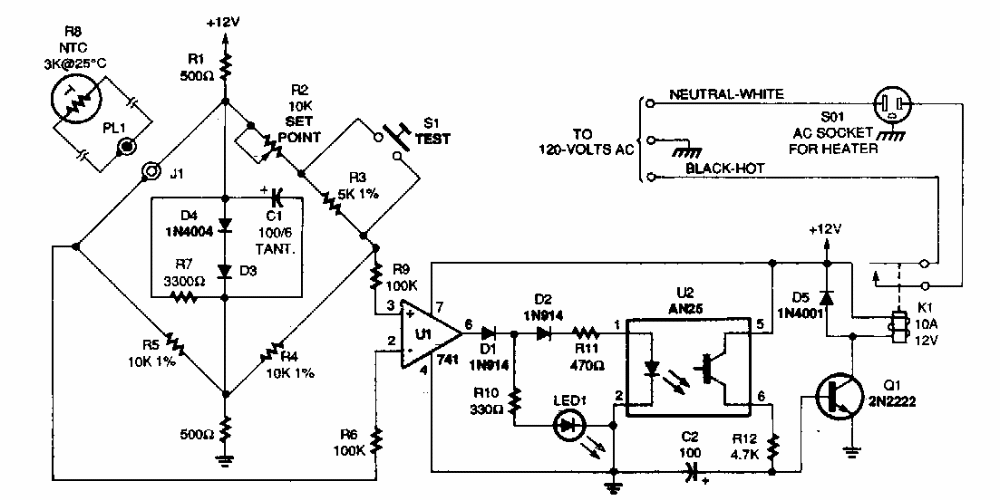
Este circuito foi encontrado numa Popular Electronics dos anos 90. Os componentes são comuns. O potenciômetro ajusta o ponto de disparo do circuito.

 


| Clique na imagem para ampliar |

 

 

 

NO YOUTUBE


NOSSO PODCAST