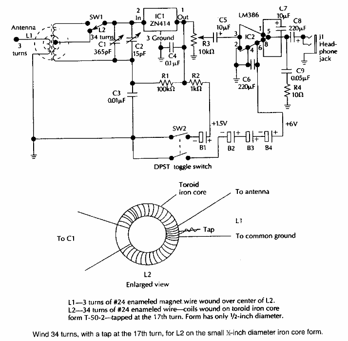
Este receptor para frequências até 18 MHz foi encontrado numa documentação americana dos anos 90. Os dados para enrolamento da bobina são agregados.

 


| Clique na imagem para ampliar |

 

 

NO YOUTUBE


NOSSO PODCAST