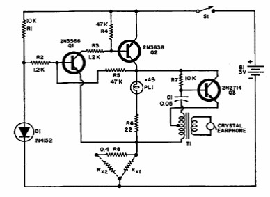
Encontrado numa Electronics World de 1967, este circuito usa componentes da época. Transistores modernos de uso geral podem ser empregados. O transformador é de saída de rádios transistorizados.

Encontrado numa Electronics World de 1967, este circuito usa componentes da época. Transistores modernos de uso geral podem ser empregados. O transformador é de saída de rádios transistorizados.
