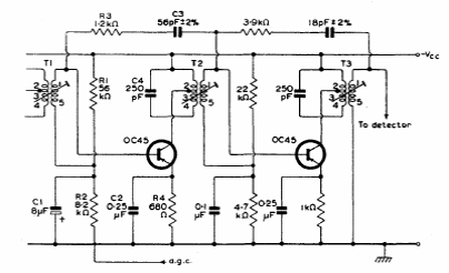
Na figura temos uma etapa com dois transistores para circuito de FI de 455kHz. O circuito é de um manual de transistores da Mullard de 1960. Os transistores são de germânio.

Na figura temos uma etapa com dois transistores para circuito de FI de 455kHz. O circuito é de um manual de transistores da Mullard de 1960. Os transistores são de germânio.
