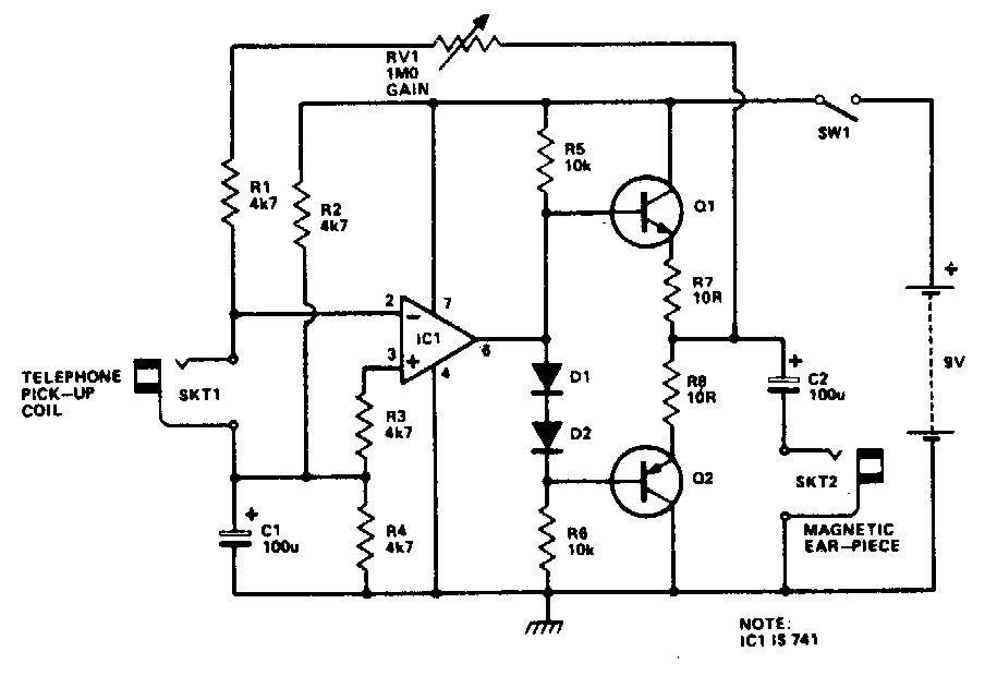
Encontrado em uma antiga publicação inglesa e também em outros pontos deste site em diversas versões, este circuito capta o ronco da rede de energia ou um sinal de áudio aplicado a um cabo para permitir sua localização numa parede ou piso.
Encontrado em uma antiga publicação inglesa e também em outros pontos deste site em diversas versões, este circuito capta o ronco da rede de energia ou um sinal de áudio aplicado a um cabo para permitir sua localização numa parede ou piso.