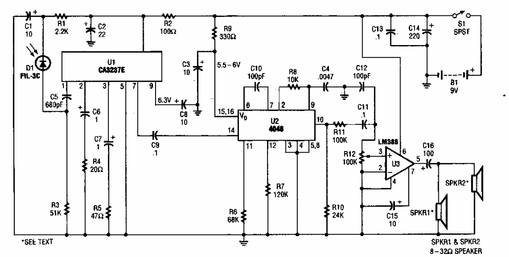
Este é o circuito receptor para o transmissor dado no circuito anterior. O circuito é de uma Popular Electronics dos anos 90. O PLL 4046 não é muito fácil de obter. Os dois circuitos podem ser adaptados para usar o 567.
Este é o circuito receptor para o transmissor dado no circuito anterior. O circuito é de uma Popular Electronics dos anos 90. O PLL 4046 não é muito fácil de obter. Os dois circuitos podem ser adaptados para usar o 567.