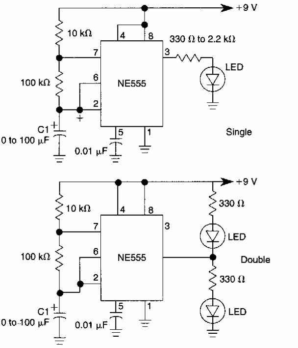
Estes dois circuitos para 1 e 2 LEDs foram encontrados em documentação americana dos anos 90. Os circuitos podem ser alimentados por tensões menores se forem usados, por exemplo, em vestíveis.

Estes dois circuitos para 1 e 2 LEDs foram encontrados em documentação americana dos anos 90. Os circuitos podem ser alimentados por tensões menores se forem usados, por exemplo, em vestíveis.
