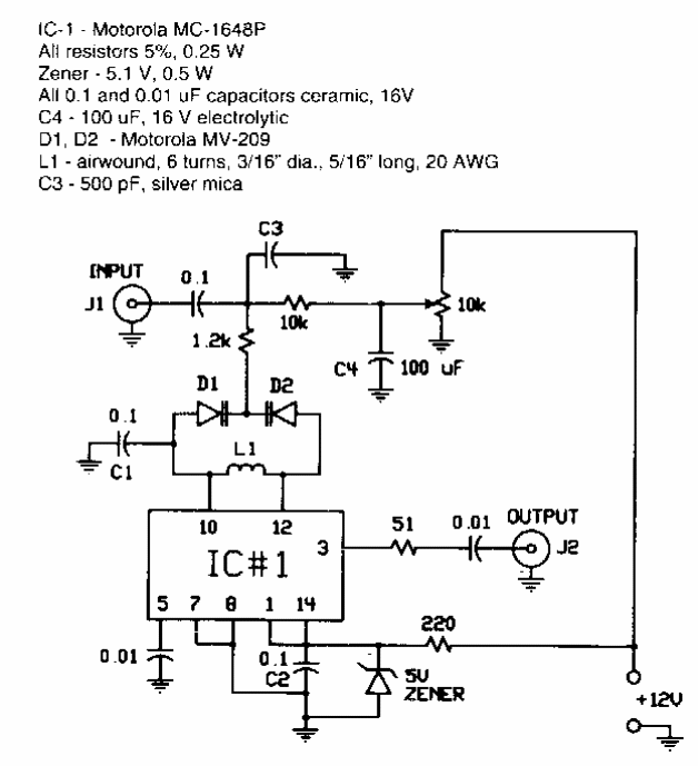
Este circuito foi encontrado numa RF design dos anos 90. O circuito tem uma frequência de saída de aproximadamente 100 MHz. Alguns componentes podem ser substituídos por equivalentes atuais.

 


 

 

 

 

NO YOUTUBE


NOSSO PODCAST