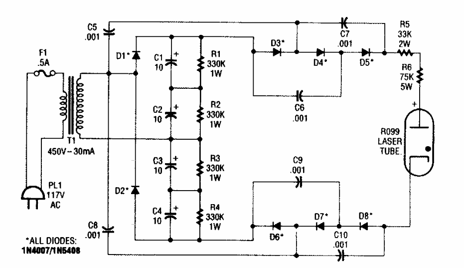
Esta fonte para laser a gás (HeNe) foi encontrada numa Popular Electronics dos anos 90. Ela gera de 1300 a 1500 V usando componentes comuns.

 


| Clique na imagem para ampliar |

 

 

 

NO YOUTUBE


NOSSO PODCAST