Regulador chaveado de 26 V CIR15716S CB8688E (CIR18680)
Detalhes
Escrito por: Newton C. Braga
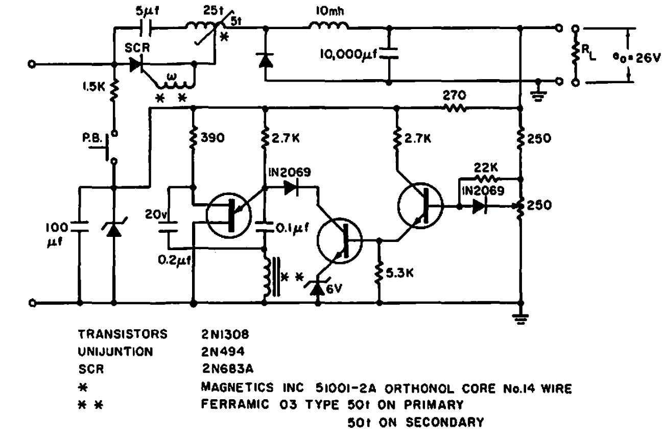
Encontrado numa Electronic Design de 1964, este circuito faz uso de componentes da época. Os componentes são da época, podendo ser usados equivalentes modernos.