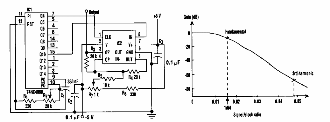
Encontrado em uma Electronic Design dos anos 90, este circuito pode gerar sinais senoidais de 0,1 Hz a 25 kHz com baixa distorção usando um MA292 da Maxim.