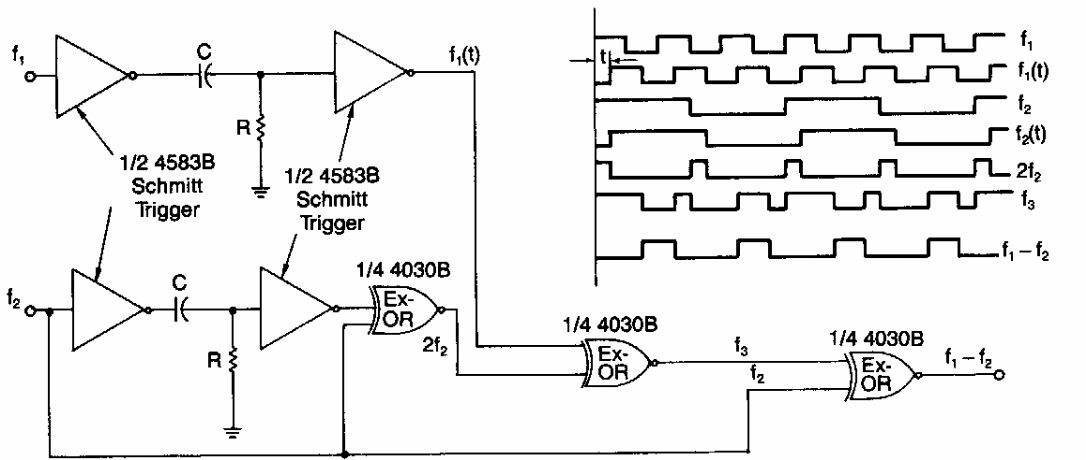
Encontrado numa Electronic Design dos anos 90, este circuito emprega funções CMOS para misturar os sinais de duas entradas. Os capacitores e resistores dependem da forma com que os sinais devem ser amostrados.
Encontrado numa Electronic Design dos anos 90, este circuito emprega funções CMOS para misturar os sinais de duas entradas. Os capacitores e resistores dependem da forma com que os sinais devem ser amostrados.