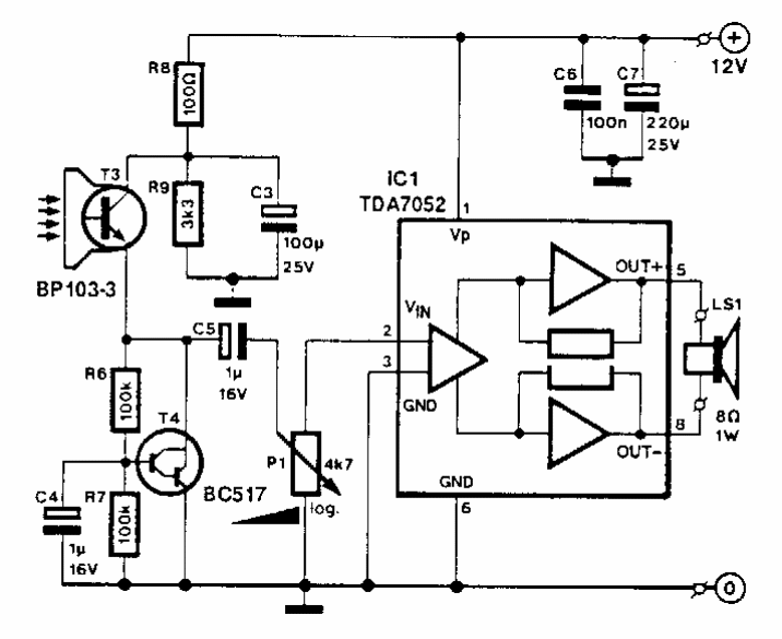
Este receptor para um intercomunicador por luz modulada foi encontrado numa Elektor dos anos 90. O amplificador de áudio pode ser substituído por equivalente. O sensor pode ser qualquer fototransistor.
Este receptor para um intercomunicador por luz modulada foi encontrado numa Elektor dos anos 90. O amplificador de áudio pode ser substituído por equivalente. O sensor pode ser qualquer fototransistor.