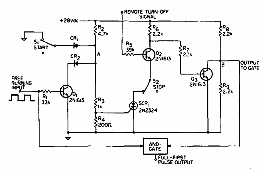
Este circuito foi encontrado numa EEE de 1967. Os componentes são da época, mas o circuito pode ser implementado com componentes equivalentes modernos.

 


| Clique na imagem para ampliar |

 

 

NO YOUTUBE


NOSSO PODCAST