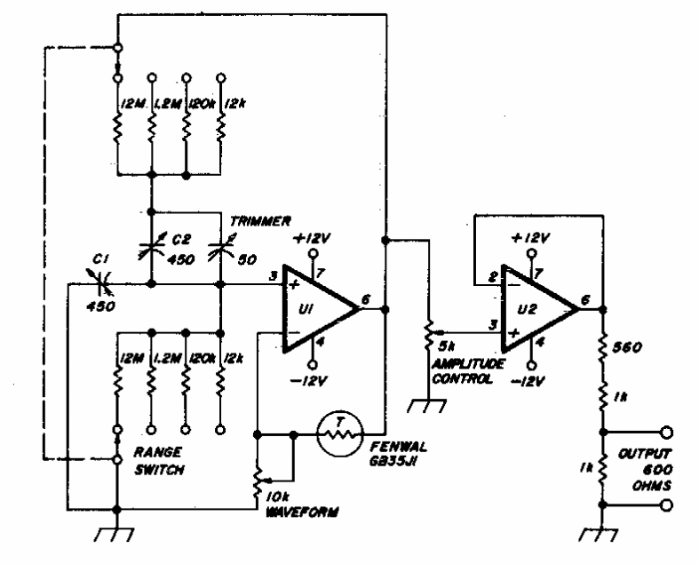
Este circuito tem uma faixa de frequências de 30 Hz a 100 kHz com um sinal de saída de 1 Vrms. Encontramos em documentação americana dos anos 70. Os circuitos integrados são CA3140.

 

 


| Clique na imagem para ampliar |

 

 

NO YOUTUBE


NOSSO PODCAST