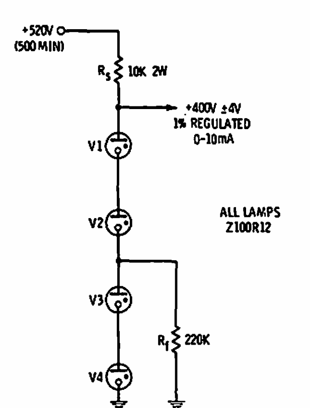
Encontrado numa antiga documentação americana, este circuito usa lâmpadas neon como referência para se obter uma tensão de saída de 400 V.

Encontrado numa antiga documentação americana, este circuito usa lâmpadas neon como referência para se obter uma tensão de saída de 400 V.
