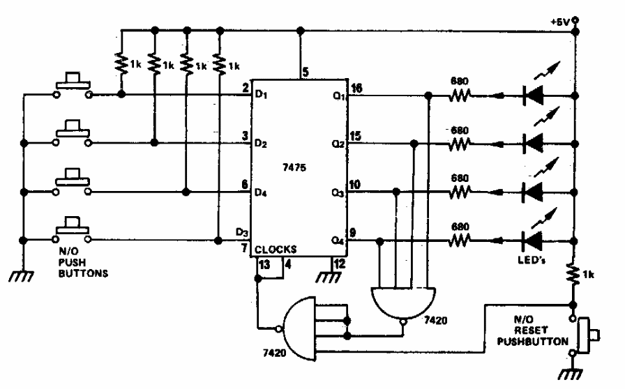
Este simples circuito TTL indica qual foi o primeiro a pressionar um dos quatro interruptores de pressão. O circuito deve ser alimentado com uma tensão de 5 V.

 


| Clique na imagem para ampliar |

 

 

NO YOUTUBE


NOSSO PODCAST