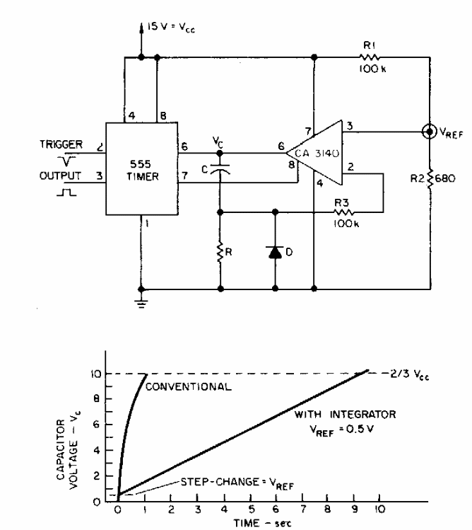
Este circuito integrador multiplica o tempo que pode ser obtido com um timer 555. Encontramos numa Electronic Design dos anos 90. O circuito emprega componentes que ainda são comuns em nossos dias.

 


| Clique na imagem para ampliar |

 

 

 

NO YOUTUBE


NOSSO PODCAST