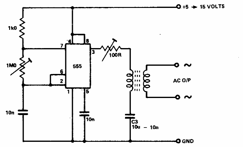
Este inversor com o 555 fornece uma saída de alta tensão, mas muito baixa corrente. Encontramos numa documentação dos anos 80. O transformador é de acordo com a tensão desejada.

 


| Clique na imagem para ampliar |

 

 

 

NO YOUTUBE


NOSSO PODCAST