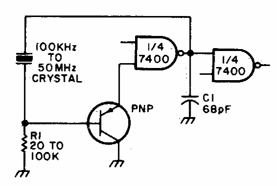
Este circuito pode gerar sinais de 100 kHz a 50 MHz conforme o cristal utilizado e a lógica associada. O circuito é de uma documentação americana dos anos 80.

Este circuito pode gerar sinais de 100 kHz a 50 MHz conforme o cristal utilizado e a lógica associada. O circuito é de uma documentação americana dos anos 80.
