Pesquisar
Pesquisar
Principal
Aprendendo Online
Automação
Bancada de Reparação
Circuitos
Dicas
Livros Técnicos
Novidades
Projetos e Artigos
Revistas
mais ...
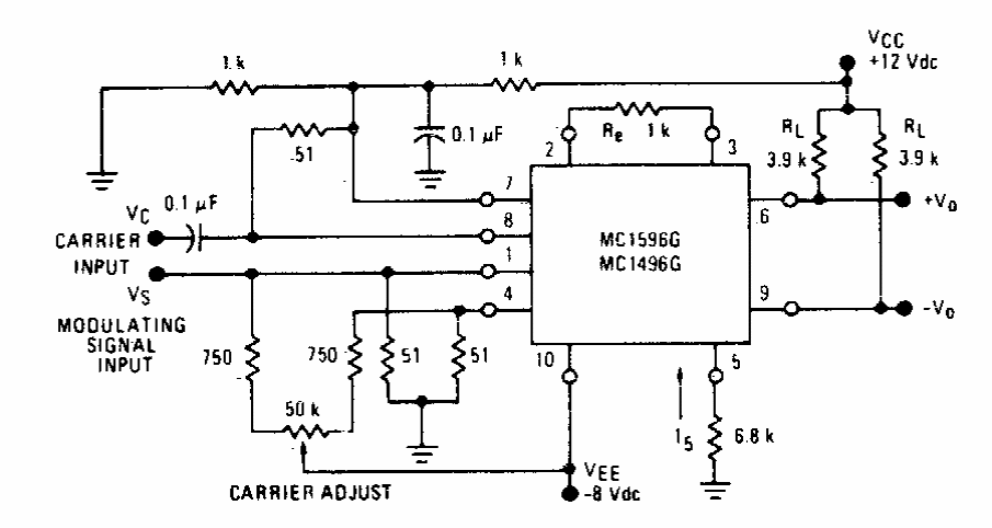
Modulador AM CIR17424S CB20772E (CIR19979)
Detalhes
Escrito por:
Newton C. Braga
Este circuito foi obtido em manual da Motorola dos anos 70. O circuito integrado é da época.
| Clique na imagem para ampliar |
Últimas Notícias
A Próxima Fronteira: O Salto Quântico da Inovação Brasileira que Quer "Hackear" as Leis da Física (NS010)
Além da Terra: A tecnologia da USP que monitorou o bem-estar dos astronautas em missão à Lua (NS009)
Memória de Cristal: A tecnologia que vai eternizar o mundo em vidro (NS008)
Última Edição
Buscador de Datasheets
N° de Componente
NO YOUTUBE
NOSSO PODCAST
Recentes
Revista Mecatrônica Jovem - Edição 26 - Música
A Próxima Fronteira: O Salto Quântico da Inovação Brasileira que Quer "Hackear" as Leis da Física (NS010)
Relé ativado por som V2347S (V2885)
Teste de flyback V2290S (V2832)
Banco de Circuitos
Milivoltímetro DC CIR15333S CB8213E (CIR18303)
Detector de píco buferizado LM741 CIR25243S CB25219E (CIR26127)
Monitor de água CIR24737S CB24786E (CIR25350)
Oscilador solar CIR23366S CB23665E (CIR23755)
Fonte simétrica de 5 V CIR24756S CB24805E (CIR25367)