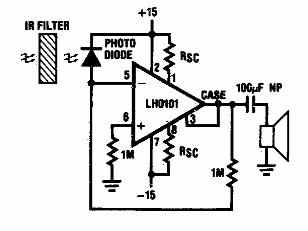
Este circuito para infravermelho modulado em amplitude, serve como receptor num link de áudio. O circuito é de uma documentação antiga, fazendo uso de um amplificador integrado da época.

Este circuito para infravermelho modulado em amplitude, serve como receptor num link de áudio. O circuito é de uma documentação antiga, fazendo uso de um amplificador integrado da época.
