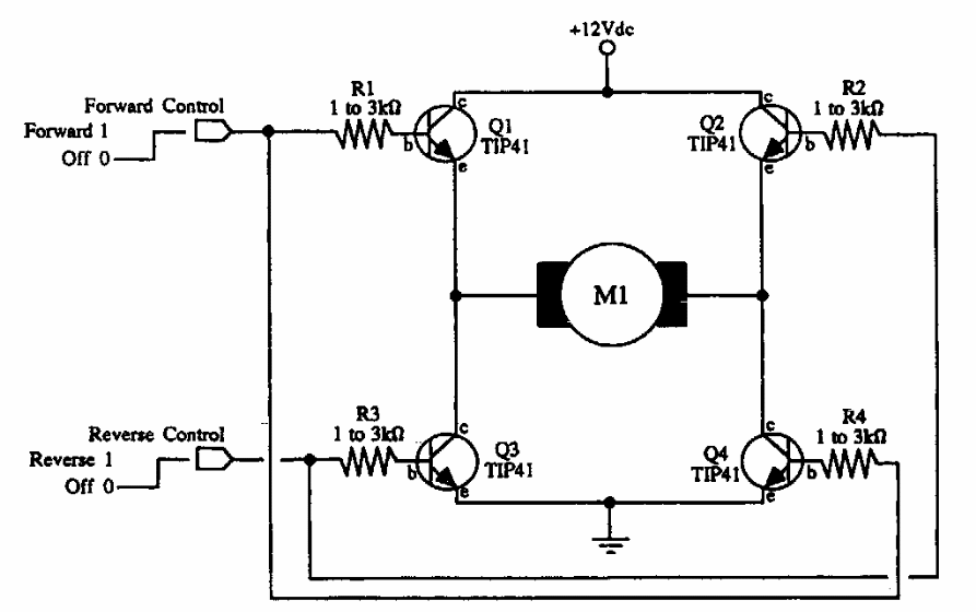
Este circuito foi obtido numa documentação americana antiga. Os transistores usados possibilitam o controle de um motor de até uns 2 A de corrente. Eles devem ser dotados de dissipadores de calor.
Este circuito foi obtido numa documentação americana antiga. Os transistores usados possibilitam o controle de um motor de até uns 2 A de corrente. Eles devem ser dotados de dissipadores de calor.