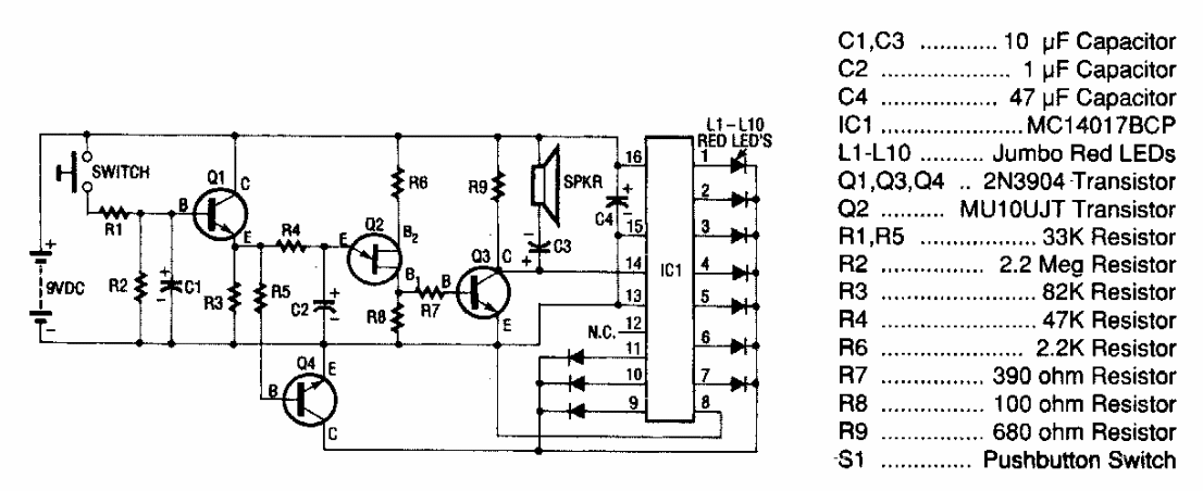
Este circuito de roleta eletrônica com 10 números foi encontrado numa Popular Electronics dos anos 80. O circuito usa LEDs indicadores e os transistores são de uso geral.

 


| Clique na imagem para ampliar |

 

 

 

NO YOUTUBE


NOSSO PODCAST