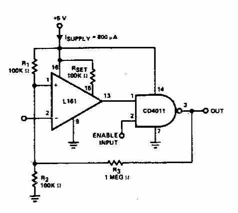
Este receptor para sinais até 300 kHz pode ser usado em circuitos de interfaceamento digital. O amplificador operacional admite equivalentes modernos.

Este receptor para sinais até 300 kHz pode ser usado em circuitos de interfaceamento digital. O amplificador operacional admite equivalentes modernos.
