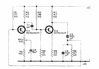
Este oscilador com ponte de Viena fornece um sinal senoidal de 3 a 4 kHz. O circuito foi encontrado num manual de Mullard de 1960. Os transistores são da época.

 


 

 

 

 

NO YOUTUBE


NOSSO PODCAST