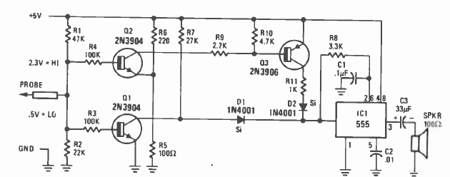
Este circuito com indicação sonora foi encontrado na revista Radio Electronics de março de 1977. O circuito pode ser usado com TTL ou CMOS conforme a alimentação.

Este circuito com indicação sonora foi encontrado na revista Radio Electronics de março de 1977. O circuito pode ser usado com TTL ou CMOS conforme a alimentação.
